Chapter 6 Specifications

Specifications

Controller

Model

TM-X5000

Number of connectable sensor heads

2

Number of setting registrations

Up to 1000 settings (depending on SD card capacity and setting contents) for SD card 1 and SD card 2 individually. External switching is possible.

Memory card

  • SD card slot x2
  • Supports OP-87133 (512 MB), CA-SD1G (1 GB: Equipped as standard for SD1 slot), CA-SD4G (4 GB), CA-SD16G (16 GB)

Number of measurement tools

Up to 100 measurement tools and 100 element tools per head *1

Interface

Control input

20 (Terminal block: 5, Parallel I/O: 15)

Control output

  • 28 (Terminal block: 6, Parallel I/O: 22)
  • Photo MOSFET *2

RS-232C

Numerical value output and control input/output

PLC-Link

Numerical value output and control input/output using Ethernet port

(Cannot be used in conjunction with EtherNet/IP™, PROFINET and EtherCAT;Compatible models: Mitsubishi Electric PLCs (MELSEC Q Series, L Series, iQ-R Series, iQ-F Series))

Ethernet

  • Numerical value output and control input/output
  • Connection to KEYENCE dedicated monitor (TM-MP120)
  • Connection to KEYENCE PC application software
  • Support for FTP client/server functions, SFTP client function, BOOTP functions
  • 1000BASE-T/100BASE-TX/10BASE-T
  • Supports jumbo frames (only the Ethernet port on the controller)

USB

  • Connection to KEYENCE dedicated monitor (TM-MP120)
  • Connection to KEYENCE PC application software
  • USB 2.0 only

EtherNet/IP

  • Numerical value output and control input/output using the Ethernet port or optional EtherNet/IP unit (CB-NEP20E) (Cannot be used in conjunction with PLC Link, PROFINET, and EtherCAT)
  • Supports cyclic communication (max. 1436 bytes) and message communication
  • Up to 32 connections (Ethernet port)/1: Exclusive Owner, 4: Input Only (CB-NEP20E)
  • Conforms to Conformance Test Version.CT17 (Ethernet port)/CT17 (CB-NEP20E)

PROFINET

  • Numerical value output and control input/output using Ethernet port enabled or optional PROFINET unit (CB-NPN20E/CB-NPN20EA) (Cannot be used in conjunction with PLC link, EtherNet/IP™, and EtherCAT)
  • Supports cyclic communication (max. 1408 byte (Ethernet port) / 1212 bytes (CB-NPN20E/CB-NPN20EA))
  • Supports non-cyclic communication (recorded data)
  • Conforms to Conformance Class A (Ethernet)/C (CB-NPN20E/CB-NPN20EA)

EtherCAT

  • By connecting the optional EtherCAT unit CB-NEC20E, numeric output and control input/output can be performed (Cannot be used in conjunction with PLC Link, EtherNet/IP, and PROFINET)
  • Supports cyclic communication (process data object communication) (input: max. 530 byte/output: max.534 byte)
  • Supports non-cyclic communication (mailbox communication)
  • Supports CoE
  • Conforms to Conformance Test V2.2.1.0

SNTP

Automatic date and time correction when connected to SNTP server

USB HDD

Various data output, including image data, when connecting an HDD (2 TB max.) to dedicated USB port (USB 3.0 support, bus-powered, rated output: 900 mA)

Simple monitor output

Analog RGB output, XGA (1024 × 768 (24 bit color, 60 Hz))

Minimum display unit

0.01 µm, 0.0001°, 0.0001 mm2

Language (Simple monitor output)

Switchable between English, Japanese, Chinese (Simplified), Chinese (Traditional), Korean, Thai, German, French, Italian, Mexican Spanish, Czech, Hungarian, and Polish.

Rating

Power voltage

24 V DC ± 10 %

Current consumption

3.5 A

Environmental resistance

Operating ambient temperature

0 to +45°C (when installed on a DIN rail) / 0 to +40°C (when installed on a surface)

Operating ambient humidity

85% RH or less (No condensation)

Weight

Approx. 1600 g

*1 Up to 7 master comparison tools (area/contour), 19 pitch measurement tools (distance/angle), 13 foreign particle distance tools (rotating rectangle), 8 foreign particle distance tools (circle/arc), and 7 contour profiles (depending on SD card capacity and settings).

*2 Positive common connection for NPN input devices and negative common connection for PNP input devices supported.

Head

Model

TM-X5006

TM-X5040

TM-X5065

TM-X5120

Transmitter/receiver distance

60 mm

180 mm

270 mm

436.7 mm

Measuring range

Field of view

High-accuracy measurement area

f4 mm

f26 mm

f40 mm

f60 mm

Measurement area

f6 mm

f40 mm

f65 mm

f124 mm

Depth of field

High-accuracy measurement area

2 mm

10 mm

20 mm

20 mm

Measurement area

4 mm

20 mm

30 mm

40 mm

Exposure time

25 / 50 / 100 μs (Adjustable 3-stage)

Imaging time (Trigger interval)

Approx. 24 ms (at “Full” vertical/horizontal measurement range sizes)

Approx. 3 ms (at “4/16” vertical/horizontal measurement range sizes)

Light source

InGaN Green LED

Measurement position accuracy *1

High-accuracy measurement area

±0.2 µm

±1 µm

±1.2 µm

±2.5 µm

Measurement area

±0.3 µm

±2 µm

±2.2 µm

±3.5 µm

Repeatability *2

±0.03 µm

±0.08 µm

±0.1 µm

±0.2 µm

Environmental resistance

Enclosure rating *3

IP64

Operating ambient temperature

0 to 45 °C

Operating ambient humidity

85% RH or less (No condensation)

Material

Aluminum

Aluminum/PBT

Weight

Transmitter

Approx. 160 g

Approx. 620 g

Approx. 1300 g

Approx. 5900 g

Receiver

Approx. 480 g

Approx. 890 g

Approx. 1900 g

Approx. 7900 g

Base

Approx. 210 g

Approx. 670 g

Approx. 1500 g

Approx. 4300 g

*1 Error when measuring width of KEYENCE standard object (glass calibration scale).

*2 Average value of ±2σ measuring the width of a KEYENCE standard object (glass calibration scale) 16 times in the center of the measurement area.

*3 Excluding connectors and cable boxes.

Dedicated monitor for TM-X

Model

TM-MP120

LCD panel

Display element

TFT LCD

Display color

16 million colors

Number of dots

1024 x 768 (W x H dots)

Effective display area

245.7 x 184.3 (W x H mm)

Backlight

White LED (not replaceable)

Life span (At normal temperature and humidity) Approx. 50,000 hours

Interface

Ethernet

Back : 1 port

1000BASE-T/100BASE-TX

USB*1

Front : 1 port

Back : 2 port

Rating

Power voltage

24 V DC ± 10 %

Max. current consumption

2.5 A

Environmental resistance

Operating ambient temperature

0 to 50 °C

Operating ambient humidity

85% RH or less (No condensation)

Mechanism

Panel built-in type

Front operating part only is dust-proof, drip-proof

equivalent to IP65f

Weight

Approx. 2400 g

*1 Use the OP-35331 (USB cable : 3m) when connecting to the controller.

Cable

Type

Model

Cable length

Weight

Head connection cable

CB-C3R

3 m

Approx. 250 g

CB-C5R

5 m

Approx. 410 g

CB-C10R

10 m

Approx. 740 g

Head connection extension cable

CB-C10RX

10 m

Approx. 740 g

Transmitter-receiver cable

OP-87033

1 m

Approx. 60 g

OP-87034

3 m

Approx. 130 g

Extension cable repeater

Model

TM-CX10U

Max. connections

Number of units

2 units

Cable length

30 m total (10 m between devices)

Environmental resistance

Operating ambient temperature

0 to 45 °C

Operating ambient humidity

85% RH or less (No condensation)

Weight

Approx. 60 g

Communication expansion unit

EtherCAT Unit (CB-NEC20E)

Model

CB-NEC20E

Communication

Compliant standard

IEEE802.3u (100BASE-TX)

Communication speed

100 Mbps (100BASE-TX)

Communication cycle

500 μs (minimum)

Connection cable

STP type cable of category 5e or higher

Distance between nodes

100 m

Communication port

RJ-45 x 2

Communication size

530 byte (input) / 534 byte (output)

Supported functions

Supports process data object communication (cyclic communication), mailbox communication (non-cyclic communication), and CoE

Conformance test version

Compliant with V2.2.1.0

Power supply

Supplied from the controller

Environmental resistance

Ambient operating temperature

0 to +45°C (DIN rail mounted)/

0 to +40°C (Bottom mounted)

Ambient operating humidity

85% RH or less (No condensation)

Weight

Approx. 500 g

EtherNet/IP Unit (CB-NEP20E)

Model

CB-NEP20E

Communication

Compliant standard

IEEE802.3u (100BASE-TX)

Communication speed

100 Mbps (100BASE-TX)

Communication cycle

1 ms (minimum)

Connection cable

STP type cable of category 5e or higher

Distance between nodes

100 m

Communication port

RJ-45 x 2

Communication size

1436 byte

Supported functions

Supports cyclic communication (Implicit message) and message communication (Explicit message) UCMM and Class3, supports DLR (Device Level Ring)

Conformance test version

Compliant with Version.CT17

Power supply

Supplied from the controller

Environmental resistance

Ambient operating temperature

0 to +45°C (DIN rail mounted)/

0 to +40°C (Bottom mounted)

Ambient operating humidity

85% RH or less (No condensation)

Weight

Approx. 500 g

PROFINET Unit (CB-NPN20E/CB-NPN20EA)

Model

CB-NPN20E/CB-NPN20EA

Communication

Compliant standard

IEEE802.3u (100BASE-TX)

Communication speed

100 Mbps (100BASE-TX)

Communication cycle

1 ms (minimum)

Connection cable

STP type cable of category 5e or higher

Distance between nodes

100 m

Communication port

RJ-45 x 2

Communication size

1212 byte

Supported functions

Supports data I/O communication (cyclic communication) and recorded data communication (non-cyclic communication)

Applicable protocol

LLDP, DCP, MRP, SNMP

Conformance test version

Compliant with Conformance Class C V2.34

Power supply

Supplied from the controller

Environmental resistance

Ambient operating temperature

0 to +45°C (DIN rail mounted)/0 to +40°C (Bottom mounted)

Ambient operating humidity

85% RH or less (No condensation)

Weight

Approx. 500 g

Characteristics

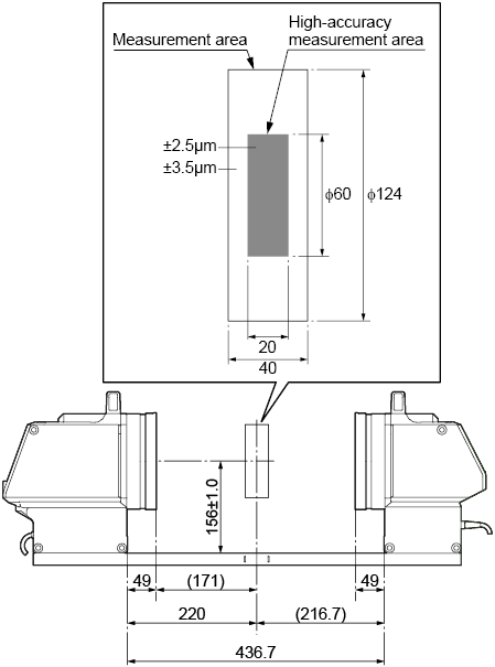
Measurement area

The illustrations below show the measurement areas that satisfy the measurement accuracy for each head.

186.png

TM-X5006

TM_Illust_Area_0010.png

TM-X5040

TM_Illust_Area_0020.png

TM-X5065

TM_Illust_Area_0030.png

TM-X5120

TM_Illust_Area_0040.png

Temperature Characteristics (examples)

Examples of the temperature characteristics are shown below.

TM-X5006

Temperature

-5 °C

5°C

15°C

25°C

35°C

45°C

Drift (µm)

0.60

0.50

0.30

0.00

-0.15

-0.20

  • When measuring with the quartz chart (width 1 mm) placed in the center of measurement range (25 °C standard)

TM-X5040

Temperature

-5 °C

5°C

15°C

25°C

35°C

45°C

Drift (µm)

-0.5

-0.2

0.0

0.0

-0.5

-0.6

  • When measuring with the quartz chart (width 10 mm) placed in the center of measurement range (25 °C standard)

TM-X5065

Temperature

-5 °C

5°C

15°C

25°C

35°C

45°C

Drift (µm)

-2.0

-1.0

0.0

0.0

0.0

0.0

  • When measuring with the quartz chart (width 10 mm) placed in the center of measurement range (25 °C standard)

TM-X5120

Temperature

-5 °C

5°C

15°C

25°C

35°C

45°C

Drift (µm)

7.50

5.00

2.50

0.00

-2.50

-5.00

  • When measuring with the quartz chart (width 20 mm) placed in the center of measurement range (25 °C standard)

Reference Surface of Head

The portion (shaded area) indicated with the arrows are the references of the surfaces.

TM-X5006

TM_Illust_Ref-Part_0010.png

TM-X5040

TM_Illust_Ref-Part_0020.png

TM-X5065

TM_Illust_Ref-Part_0030.png

TM-X5120

TM_Illust_Ref-Part_0040.png

Dimensions

Controller (TM-X5000)

187.png

When the communication expansion unit (CB-NEC20E/NEP20E/NPN20E/NPN20EA) is installed

188.png

EtherCAT unit (CB-NEC20E), EtherNet/IP unit (CB-NEP20E), PROFINET unit (CB-NPN20E/CB-NPN20EA)

189.png

Head (TM-X5006 / TM-X5040 / TM-X5065 / TM-X5120)

TM-X5006

190.png

TM-X5040

191.png

TM-X5065

192.png

TM-X5120

193.png

Transmitter-to-receiver cable (OP-87033/OP-87034)

Dimension_OP-87033.png

Unit : mm

Head connection cable (CB-C3R / CB-C5R / CB-C10R)

Dimension_HeadCable.png

Unit : mm

Model

Cable length (L)

CB-C3R

3m

CB-C5R

5m

CB-C10R

10m

Repeater for head connection extension (TM-CX10U) / Head connection extension cable (CB-C10RX)

TM-CX10U

Dimension_TM-CX10U.png

Unit : mm

CB-C10RX

Dimension_CB-C10RX.png

Unit : mm

TM-CX10U (with the cable inserted)

194.png

Protective cover (OP-88575/OP-88576/OP-88775)

OP-88575 (for TM-X5040)

Dimension_Head-Cover_TM-X5040.png

Unit : mm

OP-88576 (for TM-X5065)

Dimension_Head-Cover_TM-X5065.png

Unit : mm

OP-88775 (for TM-X5120)

195.png

Dedicated monitor for TM-X (TM-MP120)

196.png

Dedicated monitor mount (OP-87262)

197.png

Mouse (OP-87506)

198.png