샤르피 충격 시험을 이용한 파단면의 정량 평가

충격 시험은 재료에 충격이 가해졌을 때의 인성(강인성)이나 취성(무름성)을 조사하는 재료 시험입니다. 충격 시험에는 진자식 샤르피 충격 시험, 아이조트 충격 시험, 인장 충격 시험, 낙구식 낙구(낙추) 충격 시험, 듀폰 충격 시험, 다트 임팩트 시험이 있습니다. 이 중 공업 분야에서 사용되는 것은 샤르피 충격 시험 또는 아이조트 충격 시험입니다.
특히 샤르피 충격시험은 원자력 발전소의 발전 장치나 기타 배관 등 강한 충격이나 높은 압력을 받는 부품의 재료에는 없어서는 안될 시험입니다.
이 페이지에서는 샤르피 충격 시험의 방법이나 시편의 기초 지식, 시험 결과 평가에 대해 설명합니다.또한 시험 결과의 평가나 기존 측정 방법의 과제와 그 해결 방법에 대해서도 소개합니다.
- 샤르피 충격 시험이란?
- 샤르피 충격 시험 평가
- 샤르피 충격 시험의 시편
- 기존의 파단면 측정 과제
- 파단면 측정에서의 과제 해결 방법
- 요약: 측정하기 어려운 파단면 측정을 비약적으로 개선 · 효율화
샤르피 충격 시험이란?
샤르피 충격 시험이란 진자식 해머로 시편에 충격 하중을 주어 파괴했을 때의 에너지로부터 충격값을 구하여 재료의 인성이나 취성을 평가하는 시험입니다.
망치가 시편을 파괴한 후 높은 각도까지 올라간 경우에는 시편이 충격을 흡수하지 못했음을 의미합니다.반대로 해머가 낮은 각도로만 올라가는 경우에는 시편은 더 많은 충격을 흡수한 것입니다.
그리고 더 많은 충격을 흡수한 시편의 소재가 충격에 강하다고 평가합니다.또한 휘어지는 해머의 각도(규정값)가 정해져 있는 경우는 시험을 실시했을 때의 해머의 실측 각도가 규정 값 이하인 것을 시험의 합격 여부로 하고 있습니다.
샤르피 충격 시험 평가
샤르피 충격 시험에서는 해머의 리프팅 각도와 시편을 파괴한 후 타성으로 휘어진 각도를 측정합니다. 또한 파괴한 시편의 파단면에는 파괴 상황을 나타내는 많은 정보가 남기 때문에 이 또한 함께 평가합니다.
샤르피 충격 시험의 흡수 에너지 평가
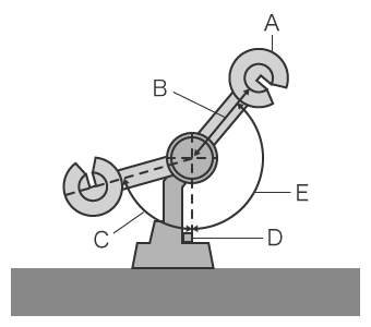
샤르피 충격 시험에서는 시편 파괴에 소비한 에너지인 「흡수 에너지」를 구합니다. 이것은 초기에 설정된 해머의 리프팅 각도와 시편을 파괴한 후 반대 쪽으로 휘어진 해머의 각도를 읽음으로써 구할 수 있습니다. 다음은 샤르피 충격 시험기의 개략도와 흡수 에너지 및 샤르피 충격 시험 강도를 구하는 식입니다.

- A
- 해머
- B
- 해머의 회전 중심에서 무게 중심까지의 거리(R)
- C
- 시편 파괴 후의 해머의 상승 각도(θβ)
- D
- 시편(b: 폭, h: 두께)
- E
- 해머의 리프팅 각도(θα)
<식>
E=WR(cosθ β -cosθ α) -L
a=E/bh
- E
- 흡수 에너지(J)
- a
- 샤르피 충격값(kg・cm/cm2)
- W
- 해머 무게(N)
- R
- 해머의 회전축 중심에서 무게 중심까지의 거리(m)
- θβ
- 시편 파단 후의 해머의 상승 각도(°)
- θα
- 해머의 리프팅 각도(°)
- b
- 시편의 폭(cm)
- h
- 시편의 두께(cm)
- L
- 마찰로 인한 에너지 손실
샤르피 충격 시험의 시편
샤르피 충격 시험에 사용되는 시편에는 다음이 있습니다. 소재는 실제로 제품에 사용되는 재료에서 잘라냅니다.
| 시험 방법 | 시편 |
|---|---|
| 금속 재료의 샤르피 충격 시험 방법 | 샤르피 충격 시편(V노치·U노치) |
| 유리 섬유 강화 플라스틱의 샤르피 충격 시험 방법 | 플랫 와이즈 충격 시편(1호 시편·2호 시편) 에지 와이즈 충격 시편(1호 시편, 2호 시편) |
| 탄소 섬유 강화 플라스틱의 샤르피 충격 시험 방법 | 샤르피 충격 시편 |
| 플라스틱-샤르피 충격 특성을 구하는 방법 | 샤르피 충격 시편 |
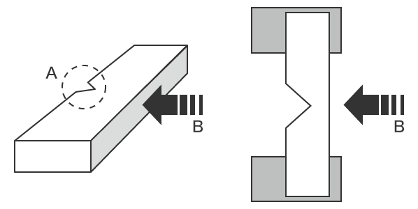
시편에는 응력을 집중시키기 위한 「노치」라고 불리는 가장자리를 따낸 부분이 있으며 노치에는 「V 노치」와 「U 노치」가 있습니다. 또한 시편에는 「에지와이스 충격」용과 「플랫와이즈 충격」용이 있습니다. 에지와이스 충격에서는 시편의 좁은 면에 충격을 주고, 플랫와이즈 충격에서는 시편의 넓은 면에 충격을 줍니다. 다음은 에지와이스 충격으로 시험하는 경우의 시편과 타격 방향의 예입니다.

- A
- 노치
- B
- 타격 방향(에지와이스)
샤르피 충격 시험의 파단면 평가
샤르피 충격 시험으로 파괴한 시편의 파단면에는 온도에 의한 파괴의 차이가 나타납니다. 이 온도 변화에 의한 파단면의 양상 변화를 「취성 천이 현상」이라고 합니다. 파단면의 양상에는 취성 파단면과 연성 파단면이 있습니다. 취성 파단면은 반짝이는 은백색이고 연성 파단면은 큰 요철이 발생하여 변형이 크며 색은 암회색입니다. 그리고 파단면에 차지하는 취성 파단면의 비율을 「취성 파면율」, 반대로 파단면 면적의 100%에서 취성 파면율을 뺀 값을 「연성 파면율」이라고 합니다.
예를 들어 동일한 소재에서도 저온인 경우 시편은 거의 초기 정사각형 단면으로 파단됩니다.파단면은 취성 파단면이 되고 흡수 에너지는 작아집니다. 반대로 고온에서는 연성 파단면이 되고 취성 파면율은 작아집니다. 그리고 흡수 에너지가 커집니다.
이와 같이 샤르피 충격 시험을 이용한 파단면에는 온도와 흡수 에너지의 관계나 인성의 변화가 표면적이나 거칠기로서 나타나므로 그 정량 평가는 재료 시험에 매우 중요하다고 할 수 있습니다.
샤르피 충격 시험과 아이조트 충격 시험의 차이
아이조트 충격 시험은 샤르피 충격 시험과 함께 공업 분야에서 많이 사용되는 충격 시험입니다. 플라스틱 충격 시험에서 많이 이용되고 단위는 J/m입니다. 그러나 이 두 가지 모두 시편 고정 방법이 다릅니다. 샤르피 시험에서는 시편의 좌우 끝을 고정하여 중앙에 타격을 줍니다. 한편 아이조트 충격 시험에서는 시편의 한쪽 끝을 고정하고 다른 한쪽 끝에 타격을 줍니다. 타격은 샤르피 충격 시험과 같이 해머로 합니다. 그리고 파괴된 충격 강도를 흡수 에너지로부터 구합니다. 흡수 에너지는 샤르피 충격 시험과 마찬가지로 들어 올린 해머의 각도와 시편 파괴 후의 타성으로 휘어진 해머의 각도로 측정합니다. 아이조트 충격 강도와 흡수 에너지를 구하는 공식은 다음과 같습니다.

- A
- 타격 방향
a=E/b
- a
- 타격 강도(J/m)
- E
- 파단에 필요한 에너지(흡수 에너지)(J)
- b
- 시편 노치가 들어 있는 측면 폭(m)
또한 흡수 에너지를 구하는 식은 다음과 같습니다.
E=WR(cosθβ−cosθα)−L
- E
- 흡수 에너지(J)
- W
- 해머 무게(N)
- R
- 해머의 회전축 중심에서 무게 중심까지의 거리(m)
- θβ
- 시편 파단 후의 해머의 상승 각도(°)
- θα
- 해머의 리프팅 각도(°)
- L
- 마찰로 인한 에너지 손실
기존의 파단면 측정 과제
지금까지 표면적 측정에는 현미경이 사용되어 왔습니다. 그러나 측정에 시간이 걸리고 정량화할 수 없다는 문제가 있었습니다. 또한 측정 결과의 보존이나 데이터화를 할 수 없는 경우도 있기 때문에 파단면의 평가는 매우 어려웠습니다.
현미경을 이용한 파단면 측정 과제

현미경은 「면」으로 정보를 포착할 수 있습니다. 스테이지의 이동량으로 홈의 폭을 측정하고, 초점 조정 이동량으로 깊이 방향을 측정할 수도 있습니다. 또한 확대율도 높아 파단면의 상세를 관찰할 수 있습니다.
한편 사람이 눈금으로 측정하기 때문에 측정 결과에 개인차가 있고 애초에 측정기가 아니기 때문에 측정 결과를 정량화할 수 없으며 정량화한 측정값의 신뢰성이 낮다는 우려가 있습니다.
파단면 측정에서의 과제 해결 방법
기존 현미경 등을 이용한 측정에서는 측정 결과의 편차, 측정 결과를 정량화할 수 없는 등의 과제가 있었습니다. 이러한 측정 과제를 해결하기 위해 KEYENCE에서는 원 샷 3D 형상 측정기「VR 시리즈」를 개발했습니다.
대상 물체의 3D 형상을 비접촉으로 면에서 정확하게 포착할 수 있습니다. 또한 스테이지의 대상 물체를 최고 속도 1초 만에 3D 스캔하여 3차원 형상을 고정도로 측정할 수 있습니다. 이 때문에 측정 결과의 편차 없이 순간적으로 정량 측정할 수 있습니다. 여기에서는 구체적인 장점을 소개합니다.
장점 1: 최고 속도 1초만에 정량 평가가 가능
금속 파단면의 면적과 체적뿐만 아니라 표면적과 단면적의 비율도 측정할 수 있습니다. 원 샷 최고 속도 1초만에 측정이 완료되므로 기존 현미경이나 측정기에서는 시간을 필요로 하기 때문에 어려웠던 측정의 N수를 대폭 증가할 수 있습니다.

또한 지금까지 많은 수고와 시간이 필요했던 넓은 면적의 최고점이나 최저점도 신속하게 측정할 수 있습니다. 그리고 측정 결과는 모두 데이터화되기 때문에 이후의 데이터 비교나 해석 작업의 수고도 크게 경감할 수 있습니다.
장점 2: 트레이서빌리티에 대응하는 측정 시스템

「VR시리즈」는 비접촉식의 3차원 측정기이면서 국가 기준으로 이어지는 트레이서빌리티를 확보. 측정 정밀도는 정확성, 반복성의 2개의 성능 보증을 하고 있어 안심할 수 있는 측정 결과, 신뢰성 높은 측정 결과를 얻을 수 있습니다. 또한 본체와 교정 보드에 인증서를 표준 첨부하고 있습니다.
이런 식으로「VR시리즈」는 트레이서빌리티를 기반으로 한 측정 시스템이므로 측정 장비로 사용할 수 있습니다.
또한 표준으로 검사 성적서·교정 증명서가 교정 게이지에 첨부됩니다. 게이지는 JCSS 인증 사업자의 기준 스케일로 이어집니다. 현지에서 누구라도 정확하게 교정할 수 있습니다.
요약: 측정하기 어려운 파단면 측정을 비약적으로 개선 · 효율화
「VR 시리즈」라면 측정 시간 때문에 측정하지 못했거나 관찰만 할 수 있었던 파단면의 상태도 신속하게 측정하여 정량화할 수 있습니다. 이를 통해 더욱 높은 수준의 샤르피 충격 시험으로 인한 파단면을 평가할 수 있습니다. 물론 아이조트 충격 시험의 파단면도 평가할 수 있습니다.
- 면으로 측정하므로 넓은 면적의 측정도 간단하게 측정 가능. 파단면의 표면적이나 체적, 거칠기 등 다양한 파라미터도 측정할 수 있습니다.
- 사람에 의한 측정값의 편차를 해소하여 정량적으로 측정할 수 있습니다.
- 위치 결정 등의 작업 없이 스테이지에 대상 물체를 놓고 버튼을 누르기만 하면 되는 간단 조작을 실현. 특정 작업자만 측정 업무를 할 수 있는 문제를 해소합니다.
- 간단·고속·고정도로 3D 형상을 측정할 수 있기 때문에 단시간에 많은 대상 물체를 측정할 수 있어 품질 향상에 도움이 됩니다.
그 외에도 과거의 3D 형상 데이터와의 비교, 거칠기 분포 등을 간단하게 분석할 수 있기 때문에 온도에 의한 파단면 상태의 경향 분석, 파괴 상태의 확인 등 다양한 용도로 활용할 수 있습니다.


