금속 부식 분석 시의 형태 관찰·해석 과제 해결
자동차를 비롯하여 다양한 제품에 이용되는 금속 재료는 예상 밖의 부분에서 국부적이고 급격한 부식이 발생하여 파괴에 이르는 경우가 있습니다.
원인 파악과 재발 방지를 위해서는 부식부의 분석·해석이 중요하며, 부식부의 형태 관찰에는 현미경이 이용됩니다. 그러나 기존의 현미경을 사용한 관찰에서는 여러 가지 과제가 있었습니다.
여기에서는 부식 분석·해석의 절차와 부식 형태·요인을 설명하고 4K 디지털 마이크로스코프를 사용한 과제 해결 사례를 소개합니다.

부식 분석·해석의 중요성과 절차
부식이란, 금속 등의 고체 재료가 주위 환경과 화학 반응 또는 전기 화학적 반응을 일으켜 변질·소모·파괴됨으로써 본래의 기능을 잃는 현상입니다. 부식부의 형태는 입계 부식·공식(孔食)·틈새 부식·접촉 부식·응력 부식 균열(입내 균열·입계 균열) 등 다양하며 재료나 환경에 따라 다릅니다.
부식의 발생 원인을 추적하고 재발 방지를 꾀하기 위해 각종 업계에서 부식 해석이 실시되고 있습니다. 특히 자동차 등 여러 가지 재료로 구성되고 실외의 다양한 환경에서 안전성이 요구되는 제품에 대해서는 부식의 분석·해석이 중요합니다.
일반적으로 부식의 분석·해석은 아래의 순서로 실시됩니다.
부식 분석·해석 순서
- 부식 발생부의 외관 관찰
- 부식 발생 부분 및 부식부의 색이나 상태를 확인합니다.
- 부식부를 잘라내거나 채취하여 관찰
- 부식부를 절단합니다. 잘라내기 어려운 경우는 부식부만 채취합니다.
- 부식부의 상세 관찰/부식물의 원소 분석
- (1)현미경을 사용하여 부식부 표면을 상세하게 관찰하고 부식부·부식물의 상태를 확인합니다. 또한, 부식부를 세정하여 기재 표면의 공식 등을 확인하는 경우도 있습니다.
(2)부식물의 성분 분석(원소 분석)으로 부식을 촉진하는 물질을 확인합니다. - 부식부의 단면 관찰
- 필요에 따라 부식부를 단면 샘플로 가공하여 부식의 진행 상태를 확인합니다. 단면에 대해 성분 분석(원소 분석)을 실시하는 경우도 있습니다.
국부 부식의 형태와 발생 예·요인
부식에 따른 트러블의 대부분은 진전 속도를 예상하기 어려운 부분에서 발생하는 국부 부식에 의한 것으로 알려져 있습니다. 또한, 금속 표면의 보호 피막이 파괴되어 국부 부식이 발생하고 국부적인 파괴의 원인이 되기도 합니다.
파괴의 원인이 되는 국부 부식의 대표적인 형태와 원인 등은 아래와 같습니다.
입계 부식

- A. 입계 부식
- B.탈립
- 현상: 불순물이나 개재물에 의해 부식 전위가 낮은 입계부에 발생하는 부식입니다. 또한, 입계 부식이 원인이 되어 결정립이 탈락되는 「탈립」이 발생하는 경우가 있습니다.
- 발생 예: 스테인리스강이나 알루미늄 합금 등의 열처리가 적당하지 않은 경우, 또는 처리가 불충분한 부분이나 용접 시 열의 영향을 받은 부위에 발생합니다.
- 요인:
재료 측: 입계 크롬 농도의 저하, 미량 성분의 입계 편석·입계 석출물 등.
공식(孔食)

- A. 공식
- B.부동태 피막
- 현상: 부동태를 유지하는 금속 표면(부동태 피막)의 매우 한정된 부분에 발생하며 구멍 직경이 작고 깊이 진행되는 부식입니다.
- 발생 예: 할로겐 이온(Cl- 등)에 의해 부동태 피막이 국부적으로 깨져 구멍의 형태로 침식. 스테인리스강이나 알루미늄 합금의 염화물 수용액 중에 있는 비금속 개재물 등 금속 불균일성이 발단이 되어 발생합니다.
- 요인:
환경 측: 할로겐 이온·용존 산소.
재료 측: 개재물·결함 등.
틈새 부식

- A.틈새 부식
- B.부동태 피막
- 현상: 틈새 부분에서 용존 산소가 결핍되어 금속 표면의 부동태 피막이 깨지고 금속이 용해되어 발생하는 부식입니다.
- 발생 예: 스테인리스·알루미늄·티타늄의 플랜지면 등에 발생합니다.
- 요인:
구조·재료 측: 틈새 구조·산화 스케일 등.
환경 측: 할로겐 이온·용존 산소(성장 단계는 공식과 동일한 구조).
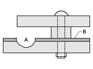
접촉 부식(이종 금속 접촉 부식·갈바닉 부식)

- A. 부식부
- B.비천금속
- C.귀금속
- 현상: 전극 전위가 다른 금속끼리 접촉하여 그곳에 전해질 용액이 존재함으로써 「비천금속」에 발생·촉진되는 부식입니다.
- 발생 예: 알루미늄과 강이 접촉하면 알루미늄이 부식, 강과 스테인리스가 접촉하면 강이 부식됩니다.
- 요인:
재료 측: 전위 차가 있는 금속의 접촉. 접촉하는 이종 금속 중 비천금속일수록 부식이 크다.
응력 부식 균열
- 현상: 인장 응력(잔류 응력 또는 외부 부하 응력)에 의해 표면 보호 피막이 국부적으로 파괴되어 발생하는 부식입니다. 부식이 집중적으로 진행되면 균열에 이릅니다.
- 균열 형태의 종류: 응력 부식 균열의 진행 경로는 금속과 환경의 조합에 따라 다르기 때문에 균열의 형태에도 차이가 생깁니다.
균열이 결정립을 관통하여 진행되는 「입내 균열」과 결정 입계를 따라 진행되는 「입계 균열」이 있습니다. - 요인:
입내 균열: 개재물·석출물·표면 피막·재료 결함 등.
입계 균열: 미량 원소의 입계·편석·임계 크롬 결핍층·입계 석출물·입계 부정 등.


부식부의 분석·해석에 관한 과제 해결 사례
부식 형태를 통해 부식의 발생 원인을 파악할 수 있으므로 부식 분석·해석에는 현미경에 의한 외관 관찰 및 상세 관찰이 중요합니다.
부식부는 입체적인 형상이므로 기존의 현미경을 사용한 부식부 관찰에서는 초점 조정이나 조명의 조건 추출 등과 관련된 여러 가지 과제가 있었습니다. 또한, 입계 부식 및 부식 균열의 상세 관찰에서는 해상도 부족으로 관찰하기 어려운 경우가 있었습니다.
KEYENCE의 초고해상도 4K 디지털 마이크로스코프 「VHX 시리즈」는 고분해능 HR 렌즈와 4K CMOS, 전용 설계의 관찰 시스템 등에 의해 기존 현미경의 과제를 해결하는 것은 물론, 간단한 조작으로 고해상도 4K 화상에 의한 신속한 고해상도 관찰·해석을 실현합니다.
여기에서는 부식부의 관찰·해석에 관한 기존 현미경의 과제 해결을 중심으로, 다기능 4K디지털 마이크로스코프 「VHX 시리즈」의 활용 사례를 소개합니다.
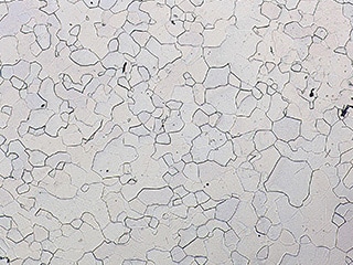
결정 입계의 고해상도 화상에 의한 관찰
기존의 과제: 현미경의 경우
고배율 관찰에서 해상도가 부족하여 결정 입계나 그곳에 발생하는 입계 부식 등을 선명하게 관찰할 수 없었습니다.
4K 디지털 마이크로스코프 「VHX 시리즈」는
고분해능 HR 렌즈와 4K CMOS로 결정 입계의 고배율 관찰에서도 고해상도 4K 화상을 통해 관찰할 수 있습니다.
따라서 입계 부식이나 탈립, 응력 부식 균열 등에서 나타나는 입내 균열·입계 균열 등도 선명한 화상으로 자세하게 관찰할 수 있습니다.


입체적인 부식부 전체를 풀 포커스로 관찰
기존의 과제: 현미경의 경우
부식된 부분은 입체적이기 때문에 피사계 심도의 한계로 일부에만 초점이 맞아 전체상을 파악하면서 관찰하지는 못했습니다. 그래서 사용자에 따른 평가의 편차나 세부 판정 누락 등이 과제였습니다.
4K 디지털 마이크로스코프 「VHX 시리즈」는
깊은 피사계 심도와 고해상도 관찰을 실현한 HR 렌즈와 4K CMOS에 「라이브 심도 합성」이 추가되어, 간단한 조작으로 대상 물체 전체에 풀 포커스를 맞춘 고해상도 4K 화상을 순간적으로 취득할 수 있습니다.
관찰 부분별로 초점을 조정할 필요가 없기 때문에 신속하면서도 판정 누락이 없는 관찰이 실현됩니다.


조명 조정 없이 부식 무늬를 관찰
기존의 과제: 현미경의 경우
금속의 부식 부분 관찰은 조명 조건 추출이 어려워 부식 무늬를 관찰하기까지 몇 번이나 조명을 조정해야 하기 때문에 많은 공정 수와 시간이 필요했습니다.
4K 디지털 마이크로스코프 「VHX 시리즈」는
「멀티 라이팅」 기능에 의해 버튼을 누르기만 하는 간단한 조작으로 모든 방향에서 비추는 조명에 의한 여러 화상을 빠르게 취득합니다. 그 중에서 관찰에 최적인 화상을 선택하기만 하면 선명한 화상의 관찰이 실현됩니다.
지금까지 조명 조건 추출에 필요했던 공정 수와 시간을 절약하고 최적의 조명에 의한 고해상도 화상으로 신속하게 관찰할 수 있습니다.
또한, 관찰 화상을 선택한 후에도 다른 멀티 라이팅 화상 데이터가 자동 저장되기 때문에 화상을 다시 선택하기만 하면 다른 조명 조건으로 관찰할 수 있습니다. 기존에는 샘플을 다시 스테이지에 놓고 조명을 재조정하기 위해 필요했던 공정 수와 시간을 절약할 수 있습니다.


부식 분석·해석을 “바꿀” 마이크로스코프
초고해상도 4K 디지털 마이크로스코프 「VHX 시리즈」는 여기에서 소개한 내용 외에도 금속 재료의 분석·해석에 도움이 되는 여러 기능이 탑재되어 있습니다.
「VHX 시리즈」는 부식부의 고해상도 관찰은 물론 서브미크론 단위의 고정도 2D·3D 측정, 입계의 정량 평가에 도움이 되는 자동 면적 계측을 끊기지 않게 실현합니다.
또한, Excel 인스톨과 임의의 템플릿에 의한 관찰 화상 및 측정값을 사용한 자동 리포트 작성까지, 마이크로스코프 1대로 일련의 작업을 간단하고 신속하게 완결합니다.
「VHX 시리즈」에 관한 자세한 내용을 알아보시려면 아래의 버튼을 클릭하여 카탈로그를 다운로드하시거나 부담 없이 상담·문의해 주시기 바랍니다.


