화학·재료·소재 업계
디지털 마이크로스코프를 이용한 숏 블라스트의 관찰·측정
숏 블라스트는 가공물의 표면에 투사재(미세한 모래나 작은 구슬 모양의 강철·주철)를 고속으로 분사하여 작은 요철을 만들고 표면을 깎는 가공 방법입니다. 표면을 매끄럽게 마무리하는 연마 가공과 달리, 숏 블라스트는 표면을 거칠게 가공합니다. 여기에서는 숏 블라스트의 개요와 디지털 마이크로스코프를 이용한 관찰·측정 사례를 소개합니다.

숏 블라스트란
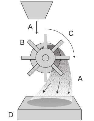
작은 구슬 모양의 강철·주철(숏)을 고속으로 분사(블라스트)하기 때문에 숏 블라스트라고 합니다. 숏 블라스트는 날개바퀴(임펠러)를 고속 회전시키고, 이때 발생하는 원심력을 이용해 날개(블레이드) 위의 투사재를 날립니다. 이에 반해 투사재를 압축 공기로 날리는 방식을 에어 블라스트 또는 샌드 블라스트라고 합니다.
숏 블라스트

날개바퀴(임펠러)를 모터로 회전시켜 원심력으로 투사재를 날립니다. 컴프레서가 필요하지 않으므로 에너지가 절약되며 낮은 비용으로 가공할 수 있으나, 가공력의 조정이 어렵고 고정도 가공에 취약합니다.
에어 블라스트(샌드 블라스트)

컴프레서에서 나온 압축 공기로 투사재를 날립니다. 압력 조정이 쉽고 고정도 가공에 적합합니다.
가공물과 투사재의 재질
가공물과 투사재에 주로 사용되는 재질을 소개합니다.
- 가공물(대상 물체)
- 금속, 세라믹, 플라스틱, 유리, 고무
- 투사재(미디어)
- 작은 구슬 모양의 강철·주철(숏), 모래, 스테인리스, 알루미나, 구리, 유리, 수지, 플라스틱, 호두가루
숏 블라스트의 목적과 효과
- 녹·오염 제거
- 금속 표면의 녹 제거, 주조품의 모래 제거, 용접 스패터 제거, 도장·기름 오염 제거
- 버 제거
- 프레스·기계 가공 후의 버 제거
- 요철 처리
- 표면에 요철을 생성시켜 도장, 도금, 접착 등의 밀착성을 높입니다.
미세 요철 가공을 통해 반사 방지, 기름 보충 향상, 마찰력 향상, 방열성 향상 효과를 얻을 수 있습니다.
- 숏 피닝
- 압축잔류응력을 통해 내마모성, 내치핑성, 피로 강도의 향상 효과를 얻을 수 있습니다.
디지털 마이크로스코프를 이용한 숏 블라스트의 관찰·측정 사례
KEYENCE의 4K 디지털 마이크로스코프 「VHX 시리즈」를 이용한 숏 블라스트의 최신 관찰·측정 사례를 소개합니다.









