주요 데이텀 형상의 종류
데이텀 형체에는 평면·직선·점 등의 종류가 있고 규제하는 공차나 형체에 따라 구분해서 사용합니다.
평면의 데이텀
평면의 데이텀은 대상 물체의 면을 데이텀으로 설정합니다. 대상 물체의 외형면(데이텀 평면)이나 중심면(데이텀 중심 평면) 등으로 설정할 수 있습니다.
ISO와 ASME에는 아래와 같이 정의되어 있습니다.
- ISO 5459:2011
- 이론상 정확한 평면인 데이텀.
- ASME Y14.5-2009
- 데이텀 형체로 확립되는 데이텀 형체 시뮬레이터의 평면.
데이텀 평면
데이텀 평면은 대상 물체의 외형 면으로 설정하는 데이텀입니다. 평평한 표면을 데이텀으로 지정하는 경우, 지시 기호는 아래와 같이 기술합니다.
지시 기호

데이텀의 설정

- a
- 실용 데이텀 형체=정반의 표면
- b
- 데이텀=정반에 의해 설정되는 평면
데이텀으로 지정하는 대상 물체(데이텀 형체)의 표면은 실제로는 요철이 있거나 구불거립니다. 데이텀으로 지정한 면을 정반과 같은 고정도의 평면으로 지지하면 데이텀 평면 A가 설정됩니다. 이때 지지하는 평면이 「실용 데이텀 형체」입니다.
데이텀 중심 평면
대상 물체의 중심면 등으로 설정하는, 이론상의 평면이 데이텀 중심 평면입니다. 평행하게 마주 보는 두 표면의 중심면을 데이텀으로 지정하는 경우, 지시 기호는 아래와 같이 기술합니다.
지시 기호

데이텀의 설정

- a
- 실용 데이텀 형체=2개의 평평한 접촉면
- b
- 데이텀=2개의 평평한 접촉면으로 설정되는 평면
데이텀 평면과 마찬가지로, 데이텀으로 지정하는 대상 물체(데이텀 형체)의 표면은 실제로는 요철이 있거나 구불거립니다. 데이텀으로 지정한 면을 고정도의 평면으로 양쪽에서 지지하면 데이텀 중심 평면이 설정됩니다. 이때 지지하는 두 평면이 실용 데이텀 형체이며, 이로 인해 생성되는 이론상의 평면이 「데이텀 중심 평면」입니다.
데이텀 직선
대상 물체의 모서리와 같은 능선, 원통 홀이나 원통 축의 중심으로 설정하는 이론상의 직선입니다. 「데이텀 축」과 「데이텀 축 직선」이 있습니다. 대부분은 대상 물체의 원통 홀이나 원통 축의 중심으로 설정하며 능선으로 설정하는 경우는 드뭅니다. 여기에서는 데이텀 축을 원통 홀로 설정하는 경우와 원통 축으로 설정하는 경우에 대해서 설명합니다. ISO와 ASME에는 아래와 같이 정의되어 있습니다.
- ISO 5459:2011
- 이론상 정확한 직선인 데이텀.
- ASME Y14.5-2009
- 데이텀 형체로 확립되는 데이텀 형체 시뮬레이터의 축.
데이텀 직선(원통 홀로 설정하는 경우)
원통 홀의 중심으로 설정하는 데이텀이며 지시 기호는 아래와 같이 기술합니다.
지시 기호

데이텀의 설정

- a
- 데이텀(데이텀 축 직선)=최대 내접 원통의 축 직선
- b
- 실용 데이텀 형체=최대 내접 원통
데이텀으로 지정하는 대상 물체(데이텀 형체)의 원통 홀 표면은 실제로는 요철이 있거나 구불거립니다. 여기에 밀착하는 고정도의 축을 삽입하면 삽입된 홀로 데이텀이 설정됩니다. 이때 삽입된 축이 실용 데이텀 형체이며 그 축 직선이 데이텀 축 직선에 해당합니다.
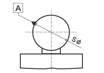
데이텀 직선(원통 축으로 설정하는 경우)
원통 축의 중심으로 설정하는 데이텀이며 지시 기호는 아래와 같이 기술합니다.
지시 기호

데이텀의 설정

- a
- 데이텀(데이텀 축 직선)=최소 외접 원통의 축 직선
- b
- 실용 데이텀 형체=최소 외접 원통
데이텀으로 지정하는 대상 물체(데이텀 형체)의 원통축 표면은 실제로 요철이 있거나 구불거립니다. 여기에 밀착하는 고정도의 홀을 삽입하면 삽입된 홀로 데이텀이 설정됩니다. 이때 삽입된 홀이 실용 데이텀 형체이며 그 축 직선이 데이텀 축 직선에 해당합니다.
점
데이텀 점은 구형 대상 물체의 중심으로 설정하고 지시 기호는 아래와 같이 기술합니다.
지시 기호

데이텀의 설정

- a
- 데이텀=최소 외접 구의 중심
- b
- 실용 데이텀 형체=V 블록 형상의 접촉점 4개(최소 외접 구에 의해 표시된다.)
데이텀으로 지정하는 대상 물체의 구체 표면은 실제로는 요철이 있거나 구불거립니다. 데이텀 형체인 구체를 2개의 V 블록 사이에 끼워 4개의 접촉점을 만들면 이 구체의 표면이 실용 데이텀 형체, 그 중심이 데이텀 점이 됩니다.


