기하 공차의 종류
현재 기하 공차의 종류는 기호의 수로 보면 14가지. 분류 방식에 따라서는 15가지입니다.
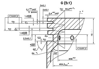
이들은 「형상 공차」「자세 공차」「위치 공차」「흔들림 공차」로 나뉘며, 이러한 공차로 모든 형상을 지정할 수 있습니다.
또한, 축과 홀의 감합 등 설계에 꼭 필요한 「최대 실체 공차 방식」, 파이프의 두께 등 강도 유지가 필요한 부분의 설계에 효과적인 「최소 실체 공차 방식」의 개요에 대해서도 소개합니다.

현재 기하 공차의 종류는 기호의 수로 보면 14가지. 분류 방식에 따라서는 15가지입니다.
이들은 「형상 공차」「자세 공차」「위치 공차」「흔들림 공차」로 나뉘며, 이러한 공차로 모든 형상을 지정할 수 있습니다.
또한, 축과 홀의 감합 등 설계에 꼭 필요한 「최대 실체 공차 방식」, 파이프의 두께 등 강도 유지가 필요한 부분의 설계에 효과적인 「최소 실체 공차 방식」의 개요에 대해서도 소개합니다.
